產品簡介
SMD氣動對夾式調節蝶閥(氣動蝶閥)采用智能控制與定位時,與國產電氣閥門定位器配套,輸入4-20mADC信號及0.4-0.7MPa氣源即可實現智能控制,實現對壓力、流量、溫度、液位等參數的調節。它是以壓縮空氣為動力,閥桿帶動閥芯在閥體內轉動90℃,可以實現全開——全閉的動作。該蝶閥按其密封性能分為金屬密封與軟密封。具有結構緊湊,體積精小,運行可靠,密封性好,維修容易,安裝方便,適應性強等優點。可廣泛應用于石油、化工、輕工、制藥、造紙、汽車等工業自動控制系統中作遠距離集中控制或就地控制。
閥體:
公稱通徑:15~1000mm
公稱壓力:PN1.6MPa
連接形式:法蘭式按JB78-59 JB79-59
材 料:WCB,HT200 ZG25I ZG1Cr18Ni9Ti,
ZG0Cr18Ni12Mo2Ti,CF8,CF8M襯四氟乙烯,
溫度范圍:常溫-20℃~+200℃ 中溫+200℃~+450℃
填 料:V型聚四氟乙烯填料,含浸聚四氟乙烯填料,
石棉編織填料,柔性石墨。
閥內組件:
閥芯型式:閥板
流量特性:直線性或等百分比持性
材 料:1 Cr18Ni9Ti 0Cr18Ni12Mo2Ti
閥座材料:聚四氟乙烯(PTFE),橡膠,金屬閥座
閥桿材料:不銹鋼,襯四氟乙烯, 可調比:100:1
執行機構:
氣缸形式:單缸式或雙缸式 氣缸工作壓力:0.4~0.7MPa 氣缸開關時 間:雙作用式1~5秒
氣缸空氣耗量:1~131L 電磁閥電源:220VAC,24VDC
規格性能表:
公稱通徑DN | 50 | 65 | 80 | 100 | 15 | 10 | 200 | 250 | 300 | 350 | 400 | 450 | 500 | 600 | 700 | 800 | 900 | 1000 |
流量系數(Kv) | 110 | 180 | 232 | 368 | 55 | 75 | 1240 | 2025 | 2712 | 3875 | 5038 | 6330 | 7755 | 11886 | 15375 | 19380 | 25695 | 31365 |
動作范圍 | 0-90° | |||||||||||||||||
允許壓差ΔP | 小于公稱壓力(1.6MPa) | |||||||||||||||||
泄漏量 | 按GB/T4213-92,kV值的10-4 | |||||||||||||||||
基本誤差 | ±2.5% 帶定位器 | |||||||||||||||||
回差 | 2.5% 帶定位器 | |||||||||||||||||
死區 | 1% 帶定位器 | |||||||||||||||||
環境溫度 | -20℃~+90℃ | |||||||||||||||||
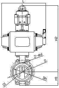
SMD671F氣動對夾式蝶閥外形圖及安裝尺寸:

SMD671F氣動對夾式蝶閥6.1SMD671HF-1016系列尺寸:
公稱通徑DN | 外形尺寸 | ||||||||
L | H2 | H1 | 1.0MPa | 1.6MPa | |||||
D | D1 | Z-Φd | D | D1 | Z-Φd | ||||
50 | 43 | 430 | 112 | 165 | 125 | 4-18 | 165 | 125 | 4-18 |
65 | 46 | 450 | 115 | 185 | 145 | 4-18 | 185 | 145 | 4-18 |
80 | 49 | 468 | 120 | 200 | 160 | 8-18 | 200 | 160 | 8-18 |
100 | 56 | 554 | 138 | 220 | 180 | 8-18 | 220 | 180 | 8-18 |
125 | 64 | 600 | 164 | 250 | 210 | 8-18 | 250 | 210 | 8-18 |
150 | 70 | 675 | 175 | 285 | 240 | 8-22 | 285 | 240 | 8-22 |
200 | 71 | 720 | 205 | 340 | 295 | 8-22 | 340 | 295 | 12-22 |
250 | 76 | 797 | 240 | 395 | 350 | 12-22 | 405 | 355 | 12-26 |
300 | 83 | 920 | 290 | 445 | 400 | 12-22 | 460 | 410 | 12-26 |
350 | 92 | 982 | 320 | 505 | 460 | 16-22 | 520 | 470 | 16-26 |
400 | 102 | 1100 | 350 | 565 | 515 | 16-26 | 580 | 525 | 16-30 |
450 | 114 | 1170 | 380 | 615 | 565 | 20-26 | 715 | 650 | 20-33 |
500 | 127 | 1230 | 410 | 670 | 620 | 20-26 | 715 | 650 | 20-33 |
600 | 154 | 1410 | 470 | 780 | 725 | 20-30 | 840 | 770 | 20-36 |
700 | 165 | 1610 | 550 | 895 | 840 | 24-30 | 910 | 840 | 24-36 |
800 | 190 | 1790 | 640 | 1015 | 950 | 24-33 | 1025 | 950 | 24-39 |
900 | 203 | 1944 | 710 | 1115 | 1050 | 28-33 | 1125 | 1050 | 28-39 |
1000 | 216 | 2070 | 770 | 1230 | 1160 | 28-36 | 1255 | 1170 | 28-42 |
SMD671F氣動對夾式蝶閥6.2SMD671-2540系列尺寸:
公稱通徑DN | 外形尺寸 | ||||||||
L | H2 | H1 | 2.5MPa | 4.0MPa | |||||
D | D1 | Z-Φd | D | D1 | Z-Φd | ||||
50 | 43 | 430 | 112 | 165 | 125 | 4-18 | 165 | 125 | 4-18 |
65 | 46 | 450 | 115 | 185 | 145 | 8-18 | 185 | 145 | 8-18 |
80 | 49 | 468 | 120 | 200 | 160 | 8-18 | 200 | 160 | 8-18 |
100 | 56 | 554 | 138 | 235 | 190 | 8-22 | 235 | 190 | 8-22 |
125 | 64 | 600 | 164 | 270 | 220 | 8-26 | 270 | 220 | 8-26 |
150 | 70 | 665 | 175 | 300 | 250 | 8-26 | 300 | 250 | 8-26 |
200 | 71 | 720 | 205 | 360 | 310 | 12-26 | 375 | 320 | 12-30 |
250 | 76 | 797 | 240 | 425 | 370 | 12-30 | 450 | 385 | 12-33 |
300 | 83 | 920 | 290 | 485 | 430 | 12-30 | 515 | 450 | 16-33 |
350 | 92 | 982 | 320 | 555 | 490 | 16-33 | 580 | 510 | 16-36 |
400 | 102 | 1100 | 350 | 620 | 550 | 16-36 | 660 | 585 | 16-39 |
450 | 114 | 1170 | 380 | 670 | 600 | 20-36 | 685 | 610 | 20-39 |
500 | 127 | 1230 | 410 | 730 | 660 | 20-36 | 755 | 670 | 20-42 |
600 | 154 | 1410 | 470 | 845 | 770 | 20-39 | - | - | - |
700 | 165 | 1610 | 550 | 960 | 875 | 24-42 | - | - | - |
800 | 190 | 1790 | 640 | 1085 | 990 | 24-48 | - | - | - |
900 | 203 | 1944 | 710 | 1185 | 1090 | 28-48 | - | - | - |
1000 | 216 | 2070 | 770 | 1320 | 1210 | 28-56 | - | - | - |
SMD671F氣動對夾式蝶閥6.3SMD641H-10/F-16系列尺寸:
公稱通徑DN | 外形尺寸 | ||||||||
L | Ha | H | 1.0MPa | 41.6MPa | |||||
D | D1 | Z-Φd | D | D1 | Z-Φd | ||||
50 | 108 | 430 | 112 | 165 | 125 | 4-18 | 165 | 125 | 4-18 |
65 | 112 | 450 | 115 | 185 | 145 | 4-18 | 185 | 145 | 4-18 |
80 | 114 | 468 | 120 | 200 | 160 | 8-18 | 200 | 160 | 8-18 |
100 | 127 | 554 | 138 | 220 | 180 | 8-18 | 220 | 180 | 8-18 |
125 | 140 | 600 | 164 | 250 | 210 | 8-18 | 250 | 210 | 8-18 |
150 | 140 | 665 | 175 | 285 | 240 | 8-22 | 285 | 240 | 8-22 |
200 | 152 | 720 | 205 | 340 | 295 | 8-22 | 340 | 295 | 12-26 |
250 | 165 | 797 | 240 | 395 | 350 | 12-22 | 405 | 355 | 12-26 |
300 | 178 | 920 | 290 | 445 | 400 | 12-22 | 460 | 410 | 12-26 |
350 | 190 | 982 | 320 | 505 | 460 | 16-22 | 520 | 470 | 16-26 |
400 | 216 | 1100 | 350 | 565 | 515 | 16-26 | 580 | 525 | 16-30 |
450 | 222 | 1170 | 380 | 615 | 565 | 20-26 | 715 | 650 | 20-33 |
500 | 229 | 1230 | 410 | 670 | 620 | 20-26 | 715 | 650 | 20-33 |
600 | 267 | 1410 | 470 | 780 | 725 | 20-30 | 840 | 770 | 20-36 |
700 | 292 | 11610 | 550 | 895 | 840 | 24-30 | 910 | 840 | 24-36 |
800 | 318 | 1790 | 640 | 1015 | 950 | 24-33 | 1025 | 950 | 24-39 |
900 | 330 | 1944 | 710 | 1115 | 1050 | 28-33 | 1125 | 1050 | 28-39 |
1000 | 410 | 2074 | 770 | 1230 | 1160 | 28-36 | 1255 | 1170 | 28-42 |

SMD671F氣動對夾式蝶閥6.4SMD641H-25/H-40系列尺寸:
公稱通徑DN | 外形尺寸 | ||||||||
L | Ha | H1 | 2.5MPa | 4.0MPa | |||||
D | D1 | Z-Φd | D | D1 | Z-Φd | ||||
50 | 108 | 430 | 112 | 165 | 125 | 4-18 | 165 | 125 | 4-18 |
65 | 112 | 450 | 115 | 185 | 145 | 8-18 | 185 | 145 | 8-18 |
80 | 114 | 468 | 120 | 200 | 160 | 8-18 | 200 | 160 | 8-18 |
100 | 127 | 554 | 138 | 235 | 190 | 8-22 | 235 | 190 | 8-22 |
125 | 140 | 600 | 164 | 270 | 220 | 8-26 | 270 | 220 | 8-26 |
150 | 140 | 665 | 175 | 300 | 250 | 8-26 | 300 | 250 | 8-26 |
200 | 152 | 720 | 205 | 360 | 310 | 12-26 | 375 | 320 | 12-30 |
250 | 165 | 797 | 240 | 425 | 370 | 12-30 | 450 | 385 | 12-33 |
300 | 178 | 920 | 290 | 485 | 430 | 12-30 | 515 | 450 | 16-33 |
350 | 190 | 982 | 320 | 555 | 490 | 16-33 | 580 | 510 | 16-36 |
400 | 216 | 1100 | 350 | 620 | 550 | 16-36 | 660 | 585 | 16-39 |
450 | 222 | 1170 | 380 | 670 | 600 | 20-36 | 685 | 610 | 20-39 |
500 | 229 | 1230 | 410 | 730 | 660 | 20-36 | 755 | 670 | 20-42 |
600 | 267 | 1410 | 470 | 845 | 770 | 20-39 | - | - | - |
700 | 292 | 1610 | 550 | 960 | 875 | 24-42 | - | - | - |
800 | 318 | 1790 | 640 | 1085 | 990 | 24-48 | - | - | - |
900 | 330 | 1944 | 710 | 1185 | 1090 | 28-48 | - | - | - |
1000 | 410 | 2070 | 770 | 1320 | 1210 | 28-56 | - | - | - |
型號編制說明:
D | SM | 6 | 71 | X | 10 | C | G |
閥門代號 | 明精公司標志 | 執行機構: | 連接形式: | 密封面材質: | 公稱壓力: | 閥體材質: | 溫度類型: |
Q:表示球閥 | - | 6:表示氣動 | 41:表示法蘭 | F:表示聚四氟乙烯 | 10:表示1.0MPa | C:表示碳鋼 | G:表示中溫型 |
D:表示蝶閥 | - | 9:表示電動 | 11:表示絲扣 | H;表示金屬密封 | 16:表示1.6MPa | P:表示不銹鋼鑄鐵省略 | 常溫省略 |
- | - | - | 71:表示對夾式 | X:表示橡膠密封 | - | F46:表示閥體襯四氟 | - |